01、项目简介
由湖南省第三工程有限公司承建的长株潭城际轨道交通西环线一期工程线路沿潭州大道南北走向敷设,南起于湘潭北站,北止于长沙市轨道交通3号线一期工程山塘站(不含)。第一标段承包范围自湘潭北站(里程k19+780)至观音港站与学士路站区间过渡段(k31+404), 5站6区间长度共计11.62km,含湘潭北站站后停车线、北津车辆段1座(含出入线)、北津主变1座(含外线)。本项目部主要建设黄家湾站、北黄区间、北津站。


图1
02、盘扣式脚手架方案设计
盘扣脚手架支撑体系分为立杆、横杆、斜拉杆及圆盘等。圆盘上有八个孔,四个小孔为横杆专用;四个大孔为斜拉杆专用。横杆、斜拉杆的连接方式均为插销式,可以确保杆件与立杆牢固连结。横杆、斜拉杆与立杆钢管呈整面接触,敲紧插销后,呈三点受力( 接头上下二点及插销对圆盘一点)可牢牢固定,增加结构强度并传递水平力,横杆头与钢管身采用满焊固定,力量传递精准无误。盘扣式脚手架的型号,主要分为A型和B型两类。A型:就是市场上常说的60系列的,也就是说,立杆直径是60mm,主要用于重型支撑,如桥梁工程中。B型:也就是48系列的,立杆直径48mm,主要用于房建与装饰装修等领域。

图2
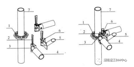
1-连接盘;2-插销;3-水平杆杆端扣接头;
4-水平杆;5-斜杆;6-斜杆杆端扣接头;7-立杆;
箱盘扣式脚手架的主要配件有:立杆、横杆、斜杆、可调底座、可调托座、之字形楼梯、挂钩踏板等。立杆采用Q345B低碳合金结构钢,Φ60.3mm,壁厚为3.2mm,单支立杆极限荷载20吨,设计荷载可用到8吨。立杆的规格模数为500mm,具体常用的规格有500mm,1000mm,1500mm,2000mm,2500mm,3000mm,另外还有基座200mm。横杆由插头、楔形销和钢管组成,横杆可以扣接在立杆圆盘上。横杆一般采用Q235材质,型号规格模数为300mm。即300mm,600mm,900mm,1200mm,1500mm,1800mm,2400mm,3000mm,壁厚为2.75mm。一般模板支撑脚手架,用量最大的是1.5m水平杆,1.2m和1.8m等,配合使用。对于操作架来说,水平杆的长度一般选用1.8m为主,1.5m,2.4m等配合使用。斜杆分为竖向斜杆和横向斜杆,是保证架体结构稳定的杆件,钢管两端设有扣接头,其长度由架体间距和步距决定。

图2-1
盘扣式脚手架竖向斜杆的规格,根据水平杆长度与步距(上下两层水平杆间距)来划分的,一般模板支撑架的水平杆步距都是1.5m,所以,模板支撑的竖向斜杆规格一般都是1.5m的高度。
盘扣式脚手架安装方法:安装时只需将横杆接头对准菊花盘位置,然后手将插销插入菊花盘孔并穿出接头底部,再用手锤敲击插销顶部,使横杆接头上的圆弧面与立杆紧密结合。

图3 盘扣锁紧示意图
A处楔形锁紧,B处铆钉不能脱出处,保证插销不能拿出,不容易丢失。

图4
03
方案实施
盘扣脚手架的承力架平面布置的位置必须与建筑结构布局适应,为此需先做出站点主体结构的模型,包括几何信息、计划进度信息等,分别以参数形式反映在模型中。先应用Revit软件建立建筑结构的3D模型(见图5)。

图5
本方案设计初始对建筑物进行满搭,运用BIM模型建模之后,能把建筑物包围,并能提供工人作业面,可以满足施工要求。(如图6)
传统的脚手架设计中仅对脚手架的平面与局部剖面进行设计,仅相当于脚手架的搭设导则,施工中还需施工人员根据经验调整构造。在脚手架的现场检查中,采用3D模型与现场实际照片(见图6、7)对比检查,实现了部件等临时设施与主体工程同步设计,同时施工、同时投产。在盘扣脚手架的承架处理上,在特殊部位进行详细注明及指出处理方法,保证了施工方便与结构安全。

BIM 技术的应用主要体现在3个方面:①有助于对建筑结构形式的理解,确定结构形式;②设计方案中,对施工过程进行动画分析;③有利于对脚手架搭设与拆除等环节的理解以及危险源的排查。
结语
通过严谨的论证和BIM三维模拟计算分析,很好的保证了架体的整体稳定性和安全性。BIM技术在盘扣脚手架中的应用,保证了施工质量,缩短了施工工期,节省了施工费用,使工程顺利进行。
转载请注明来源本文地址:https://m.tuituisoft/bim/179503.html